
Indoor riding might be about to get even more realistic, with a new Wahoo patent suggesting ‘side-to-side’ leaning might soon be a feature on an upcoming smart bike from the brand.
The patent, filed earlier this year and published last month, is for an ‘exercise bike with side-to-side motion mechanism’, and appears to be an unreleased product.
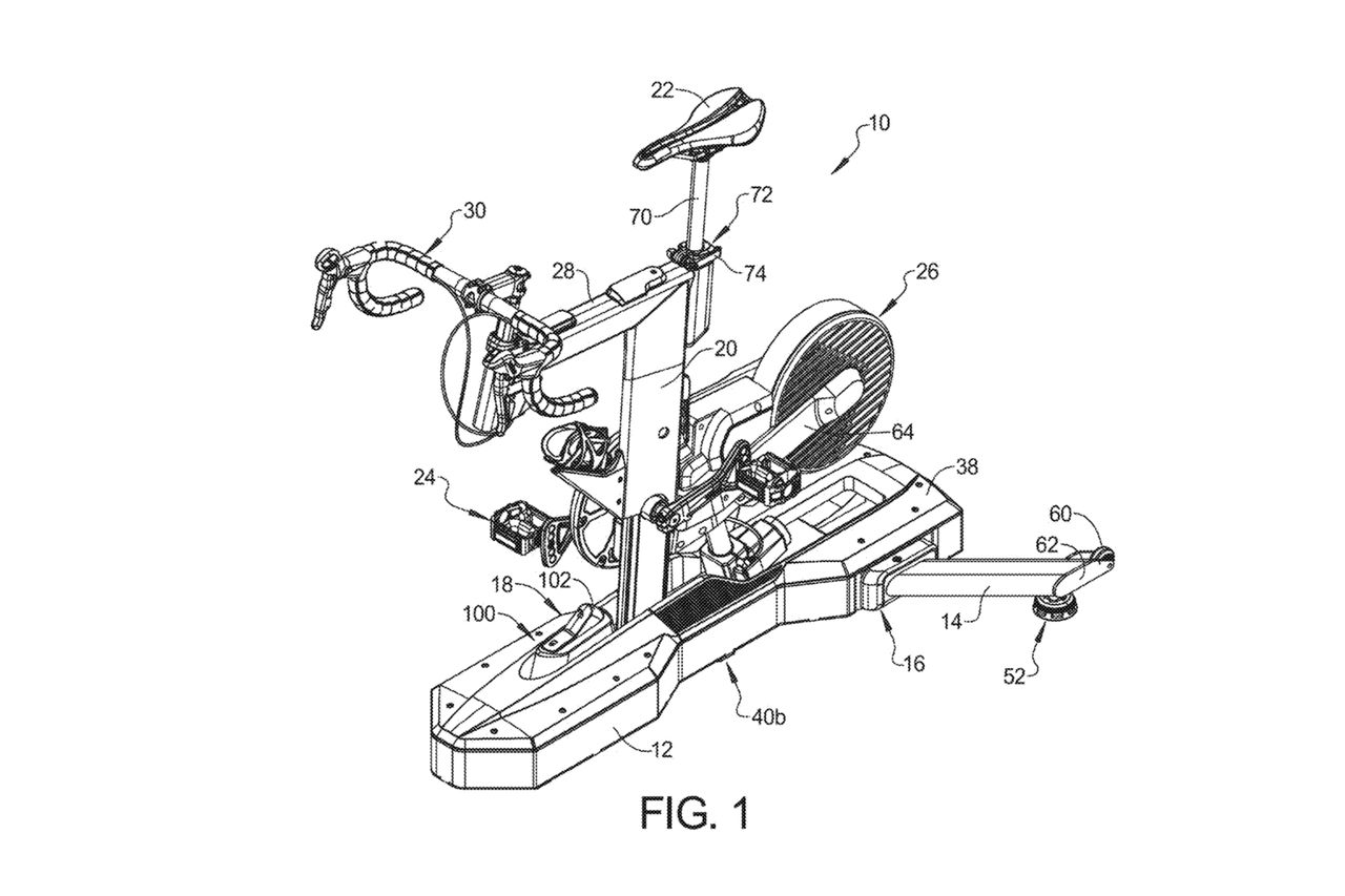
The design drawings of the bike closely resemble Wahoo’s Kickr Bike Pro, which was released this month with a new ‘grade simulation’ tool for climbing. This new product, however, has a larger, sturdier base containing a side-to-side tilting mechanism.
It would not be the first indoor bike that leans, but would mark a major innovation for Atlanta-based Wahoo, one of the market’s leading brands, who are yet to incorporate this technology.
A description of the product within the patent filing reads: “A bike trainer includes a rocking base having a bottom surface with an arc shaped rocking surface. A pair of support legs are each connected to a side of the base by a tilt mechanism. A main frame extends upward from the base and supports a seat. A pedal assembly is rotatably mounted to the main frame and drivingly connected to a flywheel assembly.”

Writing within the patent, Wahoo says the idea for the trainer came in response to the fact that conventional trainers “do not adequately simulate a realistic rider feel on the exercise bike”.
In 2017, the brand introduced its Kickr Climb product, a tool that attaches to the bike’s front forks to simulate climbing gradients indoors. This technology is now part of Wahoo’s newly launched £3,499.99 Kickr Bike Pro – “the most immersive indoor training experience yet” – which tilts up and down, simulating inclines up to 20%.
Side-to-side movement has existed in certain indoor exercise bikes as far back as 2020; BowFlex’s VeloCore bike introduced its leaning mechanism in 2020, while MUOV launched a bike in 2022 that tilts up to 12°.
Leaning on an exercise bike is said to help exercise the core and upper body, improve stability, and increase comfort on longer indoor rides, by alleviating static pressure on the rider's joints.
Over the years, smart bike users have sought to reduce discomfort by using rocker plates, large boards on which the bike and trainer are mounted. While allowing more natural movement, these plates do not fully imitate the leaning motion a rider would experience when cornering outdoors.
As with all patents, there is no guarantee that Wahoo’s latest filing will be made reality. The patent serves to protect the intellectual property of the idea.
Contacted by Cycling Weekly, a Wahoo spokesperson said: "We do not comment on our future roadmap except to say that Wahoo are continually innovating to help achieve our mission of building a better athlete in all of us."