
The US Navy is at work on a very different kind of weapons system: one that relies on the human voice.
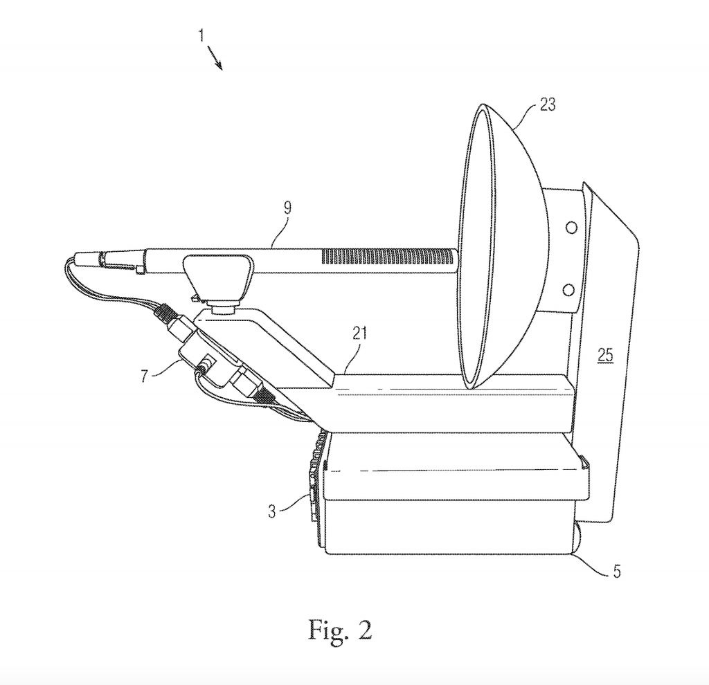
In June, the Navy filed a design for an acoustic hailing and disruption system (AHAD), a device that records a target’s speech with a long-range microphone, then plays back two versions of the audio: one simultaneously, and the other with a slight delay.

The goal, according to the patent application for the non-lethal device, is to thoroughly disorient the person being recorded.
“Due to the delayed auditory feedback effect, the target speaker’s concentration will be disrupted, making it difficult for them to continue speaking,” reads a description of the design, which is credited to Christopher a Brown, of the Naval Surface Warfare Center near Bloomington, Indiana.
The device itself looks a bit like a TV satellite dish, and contains a parabolic dish, microphone, and an ultrasonic speaker.
“By utilizing directional microphones and speakers that can create a focused beam of sound, only a target speaker’s voice will be picked up by the system, and only a target speaker will hear the transmitted audio,” according to TechLink.
It might seem like the stuff of science fiction, but the armed forces have been using long-range sonic technology for decades on ships, checkpoints, and other vehicles, often to warn people they are approaching a restricted area.
“It is an audible cue to let people know not to come any further – targeting someone with a warning tone and speaking through this device,” Navy Lt Cmdr Lance Lantier said in 2009, according to Task and Purpose. “Non-lethal weapons provide warfighters escalation-of-force options. It’s a matter of how we can first try to alter someone’s behavior without using lethal force.”
The Navy has poured millions into such sonic technologies, which were first developed following the bombing of the USS Cole off the coast of Yemen in 2000. In addition to playing warnings, the broadcasting devices can also hit intended targets with ear-splitting alarms as a way to disperse crowds or attackers.
Though often touted as a non-lethal technology, sonic devices have found regular use by highly armed US police, who have been documented across the country using the gadgets to forcefully break up Black Lives Matter demonstrations.
“Horrible, nauseating pain hit my body,” the journalist Cory Choy told Popular Mechanics about what it was like being hit with a sonic blast at a 2014 Black Lives Matter protest, “and then I realized it was sound. At first you just think, ‘What’s happening to me?’ Your body goes into complete pain and panic mode. It’s the sound equivalent of looking into the sun.”
Ironically, the devices being developed by the Navy bear a resemblance to those some think are responsible for the so-called “Havana Syndrome,” a mysterious set of illnesses among US diplomats in Cuba and elsewhere, which some blamed on clandestine sonic devices from foreign adversaries.
Two US diplomats are set to be medically evacuated from Hanoi, Vietnam, after a set of Havana Syndrome-like events were reported over the weekend.