
Watching the small unmanned aircraft that California-based startup PteroDynamics calls Transwing transition from horizontal to vertical flight reminds one of the way an osprey rotates and folds its wings aft in a dive. But the small UAS is no hunter. It’s being pitched to the U.S. Navy as a light cargo hauler whose wings cleverly fold for VTOL landing and takeoff.
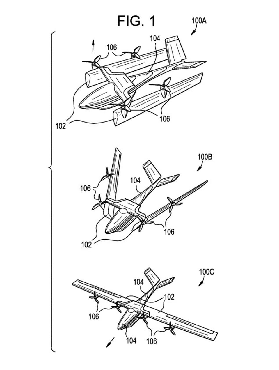
Transwing’s configuration is novel for a small unmanned aircraft system (sUAS) — part tail-sitting quadrotor, part tilt-wing, part lift-and-cruise design. Its method of transitioning from cruise to eVTOL flight and back, combining ram-like struts with dihedral articulation in one continuous sweep, is deceptively complex but elegantly simple.
It’s the brainchild of Val Petrov, a former quantitative modelling specialist and fixed income portfolio manager who experimented with eVTOL concepts as far back as the mid-2000s. He came up with the now-patented Transwing concept in 2016, recognizing the inefficiency and awkwardness of existing VTOL UAS and manned aircraft designs.
The small startup he founded claims that the autonomous 12 foot-long Transwing prototype offers substantially better controllability in takeoff, landing and hover flight than other eVTOL UAS. With a ground footprint about a third of other aircraft with the same 13-foot wingspan, it could operate in more compact landing/liftoff areas than other UAS.
And with an eye to the Navy, PteroDynamics claims it can handle the changeable, swirling gusts associated with VTOL onto and off of ships better than anything the service has thus far evaluated.
VERTREP On The Cheap
In 2018 Military Sealift Command and Navy Fleet Forces Command did an analysis of the typical resupply operations naval formations do at sea. Since the advent of the helicopter the Navy has airlifted time-critical supplies, gear and even personnel between at-sea ships via aircraft.
The practice has long been known as “vertical replenishment,” or VERTREP, and a long line of VTOL aircraft up to today’s SH-60 Seahawk and V-22 Osprey have spent countless hours and countless pounds of fuel shuttling priority cargo between ships. The analysis confirmed what many in the Navy long knew: Some 90% of critical repair cargo delivered at sea by helicopters and V-22 aircraft weighs less than 50 pounds.
That doesn’t seem an efficient use of large, fuel-hungry, multimillion-dollar, multi-mission aircraft. Small to midsized UAS, the Navy realized, might be able to do most VERTREP missions in just as timely but far less expensive fashion.
“We want to develop a logistics system to get rid of the helos that transport parts back and forth,” Tony Schmidt, director of rapid prototyping, experimentation and demonstration at the Naval Air Warfare Center Aircraft Division (NAWCAD) told USNI News.

A call was issued to industry for the capabilities NAWCAD was looking for in small cargo-hauling UAS and the Navy put drones through an evaluation during the 2019 Advanced Naval Technology Exercise. Participants were required to prove their aircraft could autonomously transport a 20-pound payload to a moving ship 25 miles away without refueling.
Approximately 65 potential UAS cargo carriers were analyzed but only two met requirements. Still, the Navy wasn’t getting exactly what it was looking for according to PteroDynamics CEO Matthew Graczyk.
“They were finding winds a particular problem with the other vehicles they were evaluating and they found our design had the prospect of delivering superior ability to handle gust situations.”
In April 2019, NAWCAD approached the company with a view to evaluating Transwing. “That’s when we began this conversation and made the agreement we signed with them in June of this year,” Graczyk says.
The contract calls for PteroDynamics to deliver three VTOL prototypes for the Navy’s Blue Water Maritime Logistics UAS program by June 2022. Another firm, Texas-based Skyways, handed over its own prototype cargo UAS last fall.
“Transwing was chosen as one of the most promising innovative designs for evaluation against traditional designs,” NAWCAD spokesperson Brittany Dickerson confirms.
Val Peterov asserts that a key element in attracting NAWCAD’s interest is the fact that all of Transwing’s electric propulsors are used for both lift and cruise as opposed to other sUAS designs which dedicate separate propulsors to lift and forward propulsion.
Minimizing weight by ditching thrust-producing components that are not used during all phases of flight is indeed a priority for NAWCAD, along with lowering the total parts count for any logistics UAS. Other goals are minimizing aircraft size for shipboard handling and recovery and obtaining an aircraft with a stable, quick transition between VTOL mode and fixed wing mode to maximize flight time and sorties.
Transwing appears to meet these, though its suitability won’t be established until after its three prototypes are delivered to NAS Patuxent River in Maryland for evaluation next summer. That gives PteroDynamics a window to roll through program milestones (critical design review, etc.) and get the trio of Transwings delivered.
But the company has no clarity on how long NAWCAD’s evaluation will take. For a small firm yet to scale, the wait — and any delay — can be daunting.
Time-Sensitive, High-Value Payloads
PteroDynamics hopes to be approved to participate in the next phase of BWUAS before the end September 2022. The company is funded by a combination of angel investors and early-stage venture capital from, Kairos Ventures. Graczyk acknowledges that PteroDynamics will be working to raise “round after round” of additional funding to stay afloat as it awaits the outcome the Navy’s evaluation and beyond.

It’s the classic “valley of death” problem that small innovators seeking work with DoD have faced for decades, a time-sensitive race to gain the next research or production contract before cashflow dries up. PteroDynamics is seeking to bridge the evaluation-decision gap by giving the NAWCAD evaluators everything they need to hit the ground (or skies) running, planning for the next BWUAS phase and for alternative markets.
Graczyk says he wants to make sure the test team at Patuxent River can “begin flying immediately” after receiving the drones. PteroDynamics is thus striving to provide NAWCAD will all the paperwork (procedures manuals, clearances) and to train the testers on Transwing as soon as it’s in their hands.
The company is also working on a larger version of the UAS which Petrov sees no problem in scaling. The prototype Transwings that Pterodynamics will hand over to NAWCAD be battery-electric-powered with fixed-pitch prop-rotors. With a maximum takeoff weight of 73 pounds, they should be capable of hauling a 15 pound payload at 65 knots over a 67 NMi distance.
But the prototypes are really a springboard to a larger, approximately 320-pound Transwing which can carry a 50-60 pound payload with an anticipated range of 930 NMi and 12 hour endurance - the kind medium sized UAS the Navy ultimately envisions using for VERTREP.
“We have projects in the works to explore the potential of this configuration for high speed, 150 knots-plus,” says Tim Whitehand, PteroDyanmics’ vice president of engineering. It’s the kind of speed that a BWUAS will need to cross distances to catch a ship at sea, Whitehand observes.
To get that speed and range, to overcome the limits of battery-electric technology, Whitehand says the larger Transwing will use hybrid propulsion. That may be manifest in the form of a fossil fuel-powered generator to feed batteries for electric motors or a direct-drive to the prop-rotors.
“Hybrid technologies will make our performance more operationally flexible,” Whitehand says.
That flexibility could extend to the commercial markets PteroDynamics is exploring, where high speed and short timelines mesh with high value payloads for expedited logistics. Bell’s APT-70 seeks to address the same timely logistics market.
“The same Transwing advantages applicable to DoD apply to the commercial sector,” Petrov says. “A small footprint is maybe not as critical but efficient forward flight is. We outperform any other STOL aircraft as far as we can see.”
That performance, along with the maritime mission for which a larger Transwing is being optimized, could be of significant interest to the offshore oil and gas sector, which uses helicopters for resupply in much the same way the Navy does. Graczyk points out that such a market - with UAS transits over water - will likely have far fewer regulatory obstacles than the still largely nonexistent medium payload market over land, calling it an ideal “trainer route” for UAS logistics.
PteroDynamics is seeking to put Transwing forward for other DoD requirements as well. Graczyk said that the company has already been selected for two DoD programs he would not name. In addition, its three currently granted patents and five patents pending represent valuable intellectual property, useful for financial leverage or sale should such an option be exercised.
Transwing’s ability to go from cruise to a hover is its secret sauce, Tim Whitehand says. “We don’t have to de-tune it to takeoff and land. We can enter the transition phase at cruise speed, above the stall. We don’t need any flaps, anything to come out to slow us to a safe speed to [vertically] land.”
To win a contract for Navy VERTREP operations, PteroDynamics will have to make the transition from startup to airframer just as gracefully.