Get all your news in one place.
100’s of premium titles.
One app.
Start reading
The Guardian - UK
The Guardian - UK
Technology
Alex Hern

Apple patent hints at virtual reality iPhone carrying headset

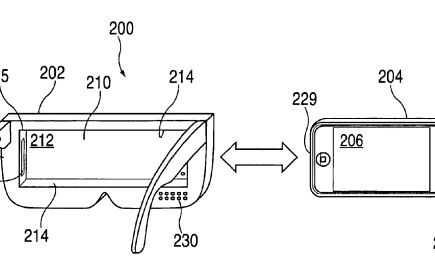
Apple's patent illustration for its virtual reality headset.
Apple’s patent illustration for its virtual reality headset. Photograph: USPTO

Apple has been awarded a patent for a head-mounted display device, which uses an inserted iPhone for a screen in a manner similar to Samsung’s Gear VR or Google’s Cardboard project.

The patent, filed in September 2008 but only granted this week, shows a chunky set of glasses with a slot for a mobile phone, as well as built-in earphones and a wireless remote control the user can hold in their hand while plugged in to the system.

Such a system avoids the “inconvenient and cumbersome” alternative of connecting a headset to a PC by wires, the patent declares.

But the patent doesn’t necessarily mean the company is seeking to create a virtual reality device. Apple regularly seeks protection for ideas which it has little intention of bringing to market, and a glance over the history of the company’s published patents reveals many such ideas, from an infrared camera system for iPhones to displays with audio sensors built-in.

It’s not even the first patent for a head-mounted display granted to Apple, which patented a different sort of system, looking more similar to an Oculus Rift, in 2014.

But despite the opposition of chief designer Jony Ive to smartglasses – in a recent interview with the New Yorker he said he felt the face “was the wrong place” for a device, when compared to the wrist – it appears the company may be taking a serious look at the field.

The granting of the patent follows a spate of job adverts showing that the company is seeking to hire developers with expertise in developing VR apps. Some adverts called for engineers to “create high performance apps that integrate with virtual reality systems for prototyping and user testing”, while others looked for developers with experience with the Oculus Rift VR headset to create “state of the art physics-based world simulation, visuals and virtual reality”.

Sign up to read this article
Read news from 100’s of titles, curated specifically for you.
Already a member? Sign in here
Related Stories
Top stories on inkl right now
One subscription that gives you access to news from hundreds of sites
Already a member? Sign in here
Our Picks
Fourteen days free
Download the app
One app. One membership.
100+ trusted global sources.